Cuanta menos interacción, mejor
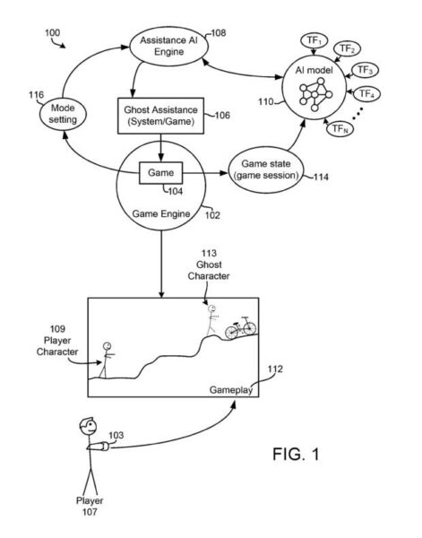
La semana pasada, la gran mayoría de páginas en español y en inglés que se dedican a la prensa de videojuegos dedicaron un artículo a una nueva patente de PlayStation. Esta consiste en la incorporación de un “Fantasma de IA” que se dedicaría a mostrarnos la manera de superar un obstáculo que más se ajuste a nuestro estilo tras haber analizado nuestra partida y contexto dentro del juego junto a clips y gameplays de YouTube, Twitch o PlayStation Network.
Este aspecto de la patente no me parece malo en absoluto, siempre y cuando el análisis de vídeos o partidas de otros jugadores se haga de manera consensual. Es cierto que tanto yo como mis compañeros en HyperHype no somos demasiado fans de la IA generativa, pero esta herramienta en concreto se asemeja más al CPU que controla a los enemigos y NPCs en un juego o a nuestros rivales en un título de lucha cuando estamos en el modo para un jugador.
La herramienta que juega por ti

La parte que realmente me preocupa de esta supuesta patente de PlayStation es su “modo completo”, en el que la IA directamente asumiría el control del personaje y se pasaría todas las secciones que nosotros queramos de una obra. Sony no solamente parece haberse olvidado de que Nintendo ya ha tenido una mecánica muy similar en algunos Super Mario Bros, si no que también parece olvidar que lo divertido de los videojuegos es (quién lo diría) experimentarlos por tu cuenta. Esta idea le quita la gracia al propio concepto en el que se basa todo un medio artístico.
Y quiero aclarar que mi rechazo no nace de la necesidad de sentirme superior como jugador, como le ocurre, por ejemplo, a una pequeña pero ruidosa parte de la comunidad de los souls de FromSoftware, que corresponde a jugadores inseguros que necesitan validación por pasarse una parte difícil hasta el punto de rechazar el concepto de invocar ayuda o de diferentes modos de dificultad. Yo estoy completamente a favor de que existan opciones de accesibilidad que permitan a una persona disfrutar de una obra a su manera, ya sea por gusto personal o por dificultades que surgen a partir de alguna discapacidad física o mental.
El problema con este “modo completo” es que no se le está dando a quien se atasque en una parte concreta la oportunidad de explorar posibles soluciones o de practicar hasta sobreponerse al enemigo u obstáculo que tenga delante. Se está premiando la pereza, la falta de creatividad y el déficit de atención que sufren muchísimas personas actualmente por culpa del bombardeo de contenido constante en cualquier red social.
Los videojuegos como “contenido”
Porque, hoy en día, parece que lo mejor de los videojuegos es decir que te lo has pasado para ser parte de la conversación o verlo por YouTube omitiendo secciones jugables enteras, como si la experimentación y el fracaso no fueran una parte intrínseca de los videojuegos como arte desde hace ya más de 40 años. Hay muchas personas que claramente no aman los videojuegos realmente, y son justamente ellas las que están a favor de conceptos como este “fantasma de IA” que se pasa el juego entero por ti, si así lo quieres.
Para mí esto es una clara muestra de lo poco que le importan a muchos “jugadores” los juegos como obras artísticas. Puedo entender el atractivo de verse la historia entera por YouTube jugada por alguien que sigues de hace un tiempo cuyos comentarios o análisis te gustan, pero de ahí a ver más títulos de los que juegas hay un paso gigantesco, que no debería dar nadie que disfrute de este medio de forma no casual. Convertir a los videojuegos en contenido, en comida rápida, lleva a este tipo de situaciones, en las que mirar a la pantalla sin tocar el mando durante horas parece normal.
Dejar una parte para después de un descanso, buscar estrategias o consejos en internet y ponerlos a prueba, insistir mil veces hasta que por fin ganamos…estas son el tipo de cosas que le dan forma a nuestra experiencia única y personal con cada juego. Si no queremos que los videojuegos se conviertan en películas o series largas, tenemos que seguir jugando. Quitarnos el control para ver como una IA se pasa una sección u obra entera no es personalizar la experiencia jugable según las necesidades de cada uno, es eliminarla por completo.


